如何添加成果?(以期刊论文为例)
步骤一:进入学校服务大厅—科研系统—我的空间—我的成果—成果列表-添加。


步骤二:填写相关信息。
1.系统内带*号字段为必填项,无相关内容的请填写“无”。其他的选填。

2.作者需要与单位建立关系:根据说明要求,先后点击“人名”与“学校”,系统会出现连线。作者排序务必与成果排序一致。

3.核刊要填收录情况。

4.基金信息必须填上。基金项目填“项目名称 项目编号(没有编号就不填编号)”。基金来源填具体来源,如:市教委科技项目/重庆市教育科学规划项目/校级项目/…。

5.为了提高审核效率,“成果详细信息”的“备注”需注明数据库。

步骤三:上传PDF附件
附件上传论文PDF(包括期刊封面、版权页、目录、文章正文、封底)。
SCI、EI、SSCI等检索期刊论文还需上传检索证明扫描件。

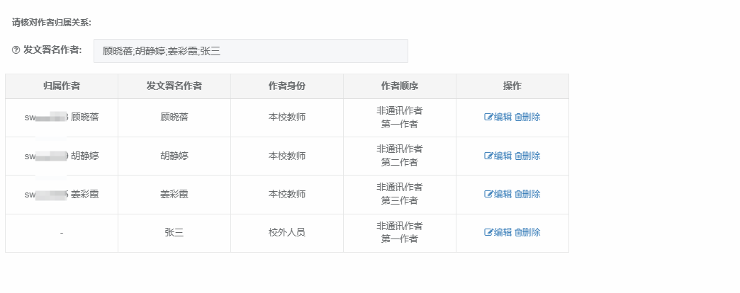
步骤四:核对归属关系。
1.选择归属院系:需要进行修改,只保留一个归属院系,如果没有需要手动添加。

图1 修改前

图2 修改后
2.选择归属作者:确定所有归属作者排名与信息是否正确,如果没有需要手动添加,校外人员身份选择“校外人员”。

请先根据图示进行操作,遇到其他问题请科研秘书或者部门联络员汇总后咨询科研处,联系电话:023-64289499